Documento de Deusto sobre Tratamientos Térmicos de los Metales. El Pdf aborda los fundamentos, el diagrama Tiempo-Temperatura-Transformación (curva TTT) y los procesos de temple y revenido, útiles para estudiantes universitarios de Tecnología.
Ver más14 páginas


Visualiza gratis el PDF completo
Regístrate para acceder al documento completo y transformarlo con la IA.
Deusto Facultad de Ingeniería Ingeniaritza Fakultatea Fundamentos de Ciencia de Materiales Tema 4 - Tratamientos Térmicos de los Metales S. A. Kados/ E. García/ A. Murillo
Las operaciones más importantes para mejorar las propiedades de los metales son los tratamientos térmicos. Un tratamiento térmico se puede definir como varios procesos de calentamiento y enfriamiento para efectuar cambios estructurales en un material obteniendo una mejora en alguna sus propiedades mecánicas.
Los tratamientos térmicos se pueden llevar a cabo en diferentes momentos de su proceso de fabricación: antes del proceso de formado, antes del proceso de deformación e, incluso, durante el proceso de manufactura o casi al finalizar el proceso.
Los principales tratamientos térmicos son el recocido, la formación de martensita en el acero (temple y revenido), el endurecimiento por precipitación y el endurecimiento superficial.
El diagrama de fases Fe-FesC indica las fases del hierro y de la cementita bajo condiciones de enfriamiento en equilibrio. De modo que se pueden identificar las distintas fases en función de la temperatura y la composición de la aleación. En estos diagramas en ningún caso se tiene en cuenta el efecto del tiempo, es decir, el tiempo de enfriamiento no es una variable que influya en los resultados. Esto es así porque los diagramas de fase suponen enfriamientos suficientemente lentos como para que se de la transformación de la austenita en ferrita y cementita, permitiendo la difusión del carbono. Se supone que los enfriamientos son muy lentos pasando por infinitos estados de subequilibrio.
Sin embargo, esos procesos tan lentos no se aplican en la industria, si no que los tiempos de enfriamiento son menores. En los enfriamientos más rápidos, se evita el equilibrio de la reacción y las transformaciones que ocurren en la microestructura del material son diferentes a las de los diagramas de fase. Por eso, no es posible utilizarlos en la mayoría de los procesos industriales.
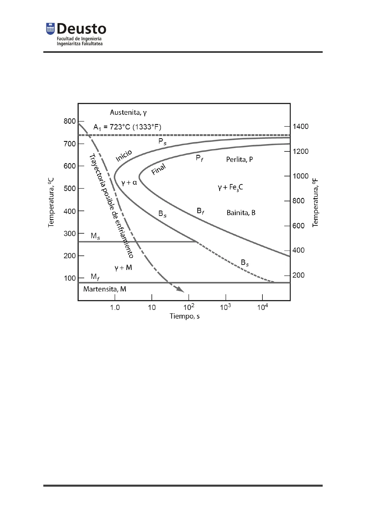
Para los casos de enfriamientos rápidos, se utiliza las curvas de Tiempo - Temperatura - Transformación (TTT), también conocidas como curvas de la S. En ellas se representa la microestructura de una aleación en concreto en función de la temperatura y del tiempo de enfriamiento. A diferencia de los diagramas de fase, las curvas TTT son específicas de una composición concreta, mientras que en los diagramas de fase teníamos todas las combinaciones posibles de una aleación binaria. De esta forma las curvas de la S dan información mucho más útil en un entorno industrial.
Utilizando la curva tiempo-temperatura-transformación (curva de la S o curva TTT) se puede entender mejor la naturaleza de la transformación de la austenita para enfriamientos rápidos. En la curva TTT se muestra las transformaciones de la alud.deusto.es página 1/11Deusto Facultad de Ingeniería Ingeniaritza Fakultatea Fundamentos de Ciencia de Materiales Tema 4 - Tratamientos Térmicos de los Metales S. A. Kados/ E. García/ A. Murillo austenita en diferentes fases en función de la velocidad de enfriamiento. Estas fases son: perlita, bainita y martensita. Estas fases aparecen de arriba abajo en el diagrama de la S, siendo, por lo general, más duras y frágiles las fases cuanto más abajo se produzca la transformación.
Austenita, Y 800 A1 = 723°C (1333ºF) 1400 700 Ps 1200 Inicio Pf Perlita, P 600 Final 1000 Temperatura, ℃ 500 Y + Fe3C 800 400 Bs Bf Bainita, B Temperatura, ºF 300 Ms 400 200 Bs Y+M 100 Mf 200 Martensita, M 1.0 10 102 103 104 Tiempo, s Figura 1. Curva tiempo-temperatura-transformación
A velocidades lentas de enfriamiento podemos obtener estructura de perlita o bainita, que son mezclas de ferrita-carburo. El inicio y el fin de la transformación en estas regiones se indica con subíndices s y f de la respectiva región.
La perlita es una mezcla de fases de ferrita y cementita que se forma a velocidades lentas de enfriamiento. Dentro de la perlita se puede diferenciar entre perlita fina y gruesa. La perlita gruesa se obtiene a velocidades de enfriamiento muy bajas, de manera que la transformación se produce a temperaturas cercanas a las de austenización, y da lugar a una estructura de grano grueso (de ahí su nombre). La perlita fina se obtiene a velocidades de enfriamiento algo mayores, lo que hace que el grano sea más fino. La perlita fina es más dura que la perlita gruesa, pero también más frágil.
La bainita es una mezcla de las mismas fases, pero con un enfriamiento inicial rápido seguido de un enfriamiento lento, de manera que la trayectoria de enfriamiento pase por la zona baja de la curva S (Bs - Bf). La bainita tiene una estructura en forma de agujas que consisten en finas regiones de carburo.
alud.deusto.es página 2/11 Trayectoria posible de enfriamiento Y+a 600Deusto Facultad de Ingeniería Ingeniaritza Fakultatea Fundamentos de Ciencia de Materiales Tema 4 - Tratamientos Térmicos de los Metales S. A. Kados/ E. García/ A. Murillo Los aceros bainíticos son más duros y resistentes que los perlíticos al tratarse de una microestructura más fina. Presentan una conveniente combinación de resistencia y ductilidad.
---- 0-2 0 Temperatura Perlita gruesa Perlita fina Bainita Martensita 0 0.8% Tiempo % en peso C Figura 2 Diagrama de transformación isotérmica
Por último, si el enfriamiento ocurre a una velocidad suficientemente rápida, la austenita se transforma en martensita, una fase única de hierro-carbono cuya composición es igual a la de austenita. La estructura FCC de la austenita se transforma casi instantáneamente en BCT. De este modo no hay tiempo suficiente para separar la ferrita y el carburo de hierro durante la transformación eutectoide y se obtiene una microestructura acicular extremadamente dura, pero a su vez muy frágil.
1 200 Austenita (y) 1 000 Temperatura (℃) Y +C 800 -a+y 600 Ferrita (a) + carburo (C) M. 400 200 Martensita de listón Mezclada Martensita de placa - 0.2 0.4 0.6 0.8 1.0 1.2 1.4 1.6 Porcentaje de carbono en peso Figura 3 Efecto del contenido de carbono sobre la temperatura Ms
La microestructura de las martensitas en acero al carbono depende del contenido de carbono presente. Un acero con un contenido menos de 0,6% de C desarrolla alud.deusto.es página 3/11Deusto Facultad de Ingeniería Ingeniaritza Fakultatea Fundamentos de Ciencia de Materiales Tema 4 - Tratamientos Térmicos de los Metales S. A. Kados/ E. García/ A. Murillo martensita de listón, mientras un acero con un contenido más de 1% de C desarrolla martensita de placa. Las martensitas Fe-C con un contenido entre 0,6%-1% presentan microestructura mezclada, incluyendo tanto martensita de listón cómo martensita de placas. La estructura de la martensita de listón consiste en dominios de listones con diferentes orientaciones, y la de martensita de placas consiste de estructura fina de maclas paralelas.
.5 um 1 um 1 a) martensita de listón, b) martensita de placa
El principal tratamiento de endurecimiento del acero es el Bonificado. El bonificado tiene tres fases: austenización, temple y revenido. Este tratamiento consigue endurecer el acero aprovechando la dureza de la martensita.
El tratamiento térmico para formar martensita consiste en austenitización y enfriamiento por inmersión (temple), seguido por un revenido para producir la martensita revenida. La austenitización es un proceso de calentamiento del acero hasta una temperatura por encima de la temperatura eutectoide para convertir las diferentes fases en austenita y mantenerlo a esta temperatura el tiempo necesario para lograr la homogeneidad de la composición.
El Temple es un enfriamiento rápido (por inmersión) de la austenita con el fin de conseguir martensita (muy dura y frágil). Este enfriamiento rápido va a impedir la difusión del carbono, generando la martensita. Para ello es necesario evitar el paso de la trayectoria de enfriamiento por la zona S de la curva TTT. La velocidad de enfriamiento depende enteramente del medio de inmersión y de la transmisión del calor dentro de la pieza. Existen cuatro métodos de inmersión: en salmuera (agua salada, agitada), en agua dulce (agua destilada, no agitada), en aceite destilado y al aire. Un enfriamiento más rápido causa más esfuerzos internos, distorsiones y grietas en la pieza, aunque también proporciona un mejor templado.
alud.deusto.es página 4/11Deusto Facultad de Ingeniería Ingeniaritza Fakultatea Fundamentos de Ciencia de Materiales Tema 4 - Tratamientos Térmicos de los Metales S. A. Kados/ E. García/ A. Murillo Después del proceso de templado tenemos una estructura metaestable sobresaturada en carbono, que es muy dura pero muy frágil, lo cual no es interesante.
El revenido es un tratamiento térmico que se aplica a los aceros endurecidos por temple para reducir su fragilidad, aliviar los esfuerzos en su estructura, incrementar la ductilidad y tenacidad. Todo ello se consigue a consta de reducir su dureza y resistencia.
Austenitización 1500 800 Temple Temperatura, ℃ 600 Revenido 1000 400 500 200 Temperatura, ºF Tiempo Tratamiento térmico típico del acero alud.deusto.es página 5/11imimi Deusto Facultad de Ingeniería Ingeniaritza Fakultatea Fundamentos de Ciencia de Materiales Tema 4 - Tratamientos Térmicos de los Metales S. A. Kados/ E. García/ A. Murillo
100 Izod impact, ft Ib-Rockwell C hardness 80 Hardness 60 40- Toughness 20- 0 0 200 400 600 800 1000 1200 1400 Tempering temperature, ºF Hardness and toughness of steel after tempering (4140 steel after tempering 1 hour)
La templabilidad se define como la capacidad relativa de un acero de ser endurecido por transformación a martensita. Esta propiedad determina la profundidad de endurecimiento por debajo de la superficie o la severidad de inmersión requerida para lograr una cierta penetración. Una buena templabilidad se refiere a un endurecimiento más profundo por debajo de la superficie, no requiriendo alta velocidad de enfriamiento.
La templabilidad de los aceros se incrementa mediante la aleación con el cromo, el manganeso o el molibdeno. Estos elementos aumentan el tiempo de iniciación de transformación de austenita a perlita, moviendo la curva de la S hacia a derecha. De esta forma, la trayectoria de enfriamiento es capaz de seguir una trayectoria más lenta hacia Ms.
El revenido es un proceso que consiste en recalentar un acero martensítico (templado) a una temperatura por debajo de la temperatura eutectoide manteniéndolo a esta temperatura durante un tiempo, seguido de un enfriamiento lento para hacerlo más dúctil. Después de este tratamiento se obtiene una estructura llamada martensita revenida, que es más dúctil que la martensita original aunque menos dura. Es decir, durante la fase de revenido se disminuye la dureza, y por tanto la resistencia, a expensas de ganar ductilidad y tenacidad.
alud.deusto.es página 6/11